Una forma de limitar la intensidad de arranque es acoplando resistencias en serie con la línea de alimentación al estator, una vez arrancado retiraremos las resistencias puenteándolas mediante un contactor. Las resistencias deberán ser resistencias de potencia para que sean capaces de resistir el calentamiento que se producirá. (I x I x R).
Calcularemos el valor de la resistencia con la siguiente expresión.
R = 0,055 x (Un/In)
A la hora de calcular las resistencias se tendrá en cuenta el número de arranques por hora y el tiempo de arranque. Normalmente se calcula la resistencia para 5 arranques por hora y 8 segundos de tiempo arranque. La intensidad media de arranque tendrá un valor de Imed = 4,5 In. y el par de arranque se reducirá por debajo de la mitad de l para de arranque en conexión directa. Una ventaja con respecto al arranque estrella-triángulo es que no se van a producir cortes de tensión en el momento de eliminar las resistencias estatóricas. |
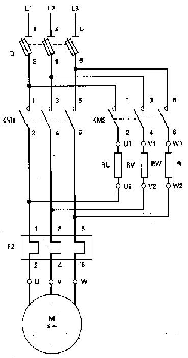
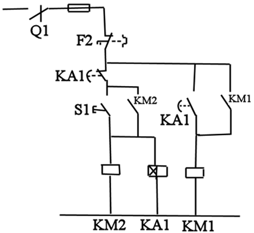
Los esquemas de fuerza y maniobra serían los siguientes.
.
.
.
.
.
.
.
.
.
.
.
.
.
Un sistema similar sólo aplicable en motores de rotor bobinado sería el arranque mediante resistencias rotóricas, en este caso el rotor no podrá ser de jaula de ardilla, sino de rotor bobinado.
.
.
.
.
.
.
.
.
En este caso los esquemas de fuerza y maniobra con dos grupos de resistencias serían los siguientes.






esta formula que exponen R = 0,055 x (Un/In) a que se refiere a la resistencia que hay que poner en cada fase para el arranque, o a otro concepto,, supongo que sera igual si es por eliminacion de resistencia en el Estator o en el Rotor
gracias
Porque este esquema solamente aplica para motores de rotor bobinados, y no para jaula de ardilla.
Buenas tardes, entonces ¿KM1 siempre estaría activo mientras que si se activa KM3, KM2 estaria desactivado? o KM2 se mantendria tambien activado siempre
bien chido
exelente pero que las imagenes sean con esquemas de colores se ve mejor
exelente pagina, justo lo que estaba buscando, felicito al o a los que la crearon, muchas gracias!!! mas claro no puede estar, felicitaciones!!